ZCZP中溫電磁閥產品用途
永嘉縣泉達泵閥制造有限公司生產的ZCZP中溫電磁閥適用范圍于以蒸汽為加熱介質,進行溫度自動控制的執行機構。可對蒸汽加熱器、散熱器、干燥器等蒸汽設備及各類溫度自控儀、蒸汽定型機、蒸染機、蒸汽回潮機等成套設備的鍋爐蒸汽管道進行二位式自動控制和遠程控制區。廣泛應用于染化、紡織、印染、食品、醫藥、卷煙、水泥制品、石油化工、冶金等部門的自控系統。質量可靠,使用壽命長。
ZCZP中溫電磁閥型號規格說明

ZCZP中溫電磁閥主要特點
耐熱:電磁部分、密封件部分用特種耐調溫電工材料和密封材料,并應用了各種隔熱措施。
耐磨:選材合理,閥杯和導向套間巧妙地利用流體的潤滑作用,減少磨損
耐冷凝:蒸 汽管道的冷凝水是影響蒸汽電磁閥動作的重要因素,本閥則不受冷凝水影響。
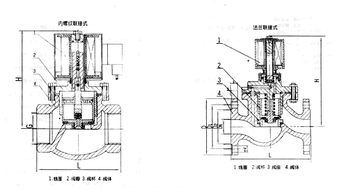
ZCZP中溫電磁閥結構原理
ZCZP中溫電磁閥由副閥和主閥兩大部件構成的先導式二次開閥的電磁閥。是靠副閥的啟閉來控制主閥的通斷。根據斷電時所處開關狀態的不同,可分為常閉電磁閥和常開電磁閥。常閉電磁閥,在斷電常位時,副閥口封閉,主閥呈斷路,當電訊號進入導閥線圈時,活動鐵芯受電磁力作用吸上打開副閥口,主閥閥杯內壓力迅速消失,介質壓力將主閥閥杯托上,開啟主閥口,工作介質硬可流通。但當電訊號消失時,活動鐵芯復位,封閉住副閥口,工作介質自平衡孔進入閥杯內,當壓力趨于平衡時,靠主閥彈簧、閥杯自重及介質壓力使閥杯下移,嚴密封住主閥口,閥又呈關閉狀態。常開電磁閥,在斷電常位時,由彈簧作用,副閥口打開,主閥流通。當電訊號進入副閥線圈時,活動鐵芯受電磁作用吸下,副閥口封閉,工作介質經平衡孔進入閥杯內,當壓力趨于平衡時,靠主閥彈簧、閥杯自重及介質壓力使閥杯下移,嚴密封主閥口,閥門呈關閉狀態。當主閥斷電時,電磁力消失,副閥打開,主閥杯內壓力迅速消失,介質壓力將主閥閥杯托上,開啟主閥口,介質流通,閥呈開啟狀態。

ZCZP中溫電磁閥主要參數
|
項目
|
說明
|
|
工作介質
|
蒸汽及其它無腐蝕性氣體
|
|
介質溫度(℃)
|
≤200
|
|
公稱壓力(MPa)
|
1.6
|
|
工作壓差(MPa)
|
0.05~1.6
|
0.10~1.6
|
|
電源電壓
|
AC220V其余規格可作特殊訂貨
|
|
使用壽命(萬次)
|
≥10
|
≥5
|
≥3
|
|
公稱通徑(mm)
|
15
|
20
|
25
|
32
|
40
|
50
|
65
|
80
|
100
|
125
|
150
|
|
額定流量系數(KV)
|
2.8
|
5
|
8.5
|
12
|
18
|
28
|
45
|
70
|
110
|
180
|
250
|
|
泄漏量(ml/min)
|
1.5
|
3
|
4.5
|
6
|
9
|
17
|
28
|
40
|
|
功耗
|
50VA
|
|
防爆標志
|
DIIBT4
|
|
防爆證編號
|
CE991010
|
|
出線口接頭
|
內螺紋M20×1.5
|
|
環境溫度
|
-40~+60℃
|
ZCZP中溫電磁閥安裝尺寸
|
公稱通徑
DN
|
內螺紋連接
|
法蘭連接
|
|
外形尺寸
|
內螺紋
|
外形尺寸
|
法蘭尺寸
|
|
H
|
L
|
G
|
H
|
L
|
D
|
D1
|
D2
|
b
|
f
|
n-d
|
|
15
|
148
|
92
|
1/2
|
176
|
130
|
65
|
65
|
46
|
14
|
2
|
4-Φ14
|
|
20
|
148
|
92
|
3/4
|
181
|
150
|
105
|
75
|
56
|
16
|
2
|
4-Φ14
|
|
25
|
148
|
110
|
1
|
210
|
160
|
115
|
85
|
65
|
16
|
3
|
4-Φ14
|
|
32
|
182
|
120
|
11/4
|
221
|
180
|
140
|
100
|
76
|
18
|
3
|
4-Φ18
|
|
40
|
182
|
140
|
11/2
|
230
|
200
|
150
|
110
|
84
|
18
|
3
|
4-Φ18
|
|
50
|
192
|
162
|
2
|
252
|
230
|
165
|
125
|
99
|
20
|
3
|
4-Φ18
|
|
65
|
|
|
|
265
|
290
|
185
|
145
|
118
|
20
|
3
|
4-Φ18
|
|
80
|
|
|
|
276
|
310
|
200
|
160
|
132
|
20
|
3
|
8-Φ18
|
|
100
|
|
|
|
373
|
350
|
220
|
180
|
156
|
22
|
3
|
8-Φ18
|
|
125
|
|
|
|
416
|
400
|
250
|
210
|
184
|
22
|
3
|
8-Φ18
|
|
150
|
|
|
|
440
|
480
|
285
|
240
|
211
|
24
|
3
|
8-Φ22
|
ZCZP中溫電磁閥安裝須知
1、安裝時電磁閥線圈向上,并保持垂直位置,電磁閥上箭頭或標記應與管道流向一致,不得安裝在有濺水或漏水的地方。
2、電磁閥的工作介質應清潔無顆粒雜質,電磁閥內件表面上的污物及過濾器,需定期清潔干凈。
3、在電磁閥發生故障時,為了及時隔離電磁閥,并保證系統正常運行,最好安裝旁路裝置(如圖一)。
4、在管路系統中,安裝在支路上的電磁閥通徑應小于主管道閥門的通徑(如圖二)。
5、安裝電磁閥前,管道必須清洗干凈。建議在閥前安裝過濾器,蒸汽管道安裝疏水閥。
6、不能將閥安裝在管道的低凹處,以免因蒸汽冷凝水、雜質等沉淀在閥內而妨礙動作。
7、普通型不能在爆炸危險場合使用。
8、在管路剛性不足情況下,建議把閥前管道用支架固定,以免電磁閥工作時引起振動。
9、在安裝前,要注意看清產品標牌,認真閱讀使用說明書,判斷產品是否符合使用條件。
10、電磁閥前后管道上需安裝壓力表,以便觀察管道壓力。

ZCZP中溫電磁閥使用保養
1、建議使用單位派專人負責使用保養。
2、電磁閥安裝后需通入介質實驗動作數次,確認正常后方可投入正式使用。
3、應定期清洗大閥內外及銜吸合面的污物,注意不要損壞密封面。
4、電磁閥較長時間不用時,應關閉閥前手動閥,重新啟用時,蒸汽電磁閥應將冷凝水排除干凈,并作試動作數次,待開關正常后方可投入使用。
5、電磁閥從管路上卸下不用時,應將內部零件拭凈并用壓縮空氣吹凈儲存。
6、使用時間較長時,如活塞與閥座間密封不好,可將活塞密封面重新磨平,現和閥座研磨。
7、工作時,要注意閥門前后壓力表,要求工作壓力不得超過額定壓力,工作壓差必須在額定壓差范圍內。當工作壓力超過額定壓力或工作壓差超過額定壓差時,電磁閥要停止使用,關閉前后手動閥,以免電磁閥爆炸和泄漏。
ZCZP中溫電磁閥訂貨須知
1、訂貨時請注明型號、公稱通徑、公稱壓力、工作介質、工作壓差、介質溫度、電源電壓及功率、介質粘度。
|
2、電磁閥正常工作時的電壓為220
|
+22 |
V,如超過此范圍,請訂貨時注明電壓波動量。其它規格電源電壓可做特殊訂貨。
|
|
-15 |
3、閥門的開通時間達12小時以上,請選用開式電磁閥。當使用環境周圍有易燃易爆品請選用防爆型電磁閥。(防爆型結構如下圖三)

ZCZP中溫電磁閥廠家
DMF-Z型電磁脈沖閥 ZCZG丨ZCZH型高溫電磁閥 ZCS水液電磁閥 SLDF水下專用電磁閥 ZCM煤氣電磁閥 ZBSF電磁閥
ZL47F自力式流量控制閥 ZCZP中溫電磁閥 ZQDF蒸汽電磁閥