ZCQ不銹鋼磁力自吸泵產品簡介:
ZCQ型不銹鋼磁力自吸泵是永嘉縣泉達泵閥制造有限公司根據眾用戶的要求,在CQ型磁力泵的基礎上吸取國外最新技術,并經過泉達工程技術人員反復研究試驗而成功的新產品,其性能達到國外同類產品九十年代先進水平。 可廣泛應用于化工,制藥,石油,電鍍,食品,電影照相洗印,科研機構。為您的生產與生活打造好幫手。
ZCQ不銹鋼磁力自吸泵型號意義:

ZCQ不銹鋼磁力自吸泵產品特點:
ZCQ型不銹鋼磁力自吸泵以靜密封取代動密封,使泵的過流部件處于完全密封狀態,徹底解決了其它泵機械密封無法避免的跑、冒、滴、漏之弊病,泵體及過流部件的材料均采用了耐腐蝕的不銹鋼、鋼玉陶瓷、四氟石墨等材料制造,既有CQ型磁力驅動泵的功能,又集自吸于一身,不需底閥和引灌水,自吸高度4米。
ZCQ型不銹鋼磁力自吸泵結構緊湊、外形美觀、體積小、噪音低、運行可靠、使用維修方便。可廣泛應用于化工、制藥、石油、電鍍、食品、電影照相洗印、科研機構、國防工業等單位抽送酸、堿液、油類、稀有貴重液、毒液、揮發性液體,以及循環水設備配套、過濾機配套。特別是易漏、易燃、易爆液體的抽送,選用此泵則更為理想。
因此,磁力自吸泵是有廣泛用途,我們真誠地向用戶推薦這種新產品。
ZCQ不銹鋼磁力自吸泵工作原理:
ZCQ型不銹鋼磁力自吸泵采用外混式軸向回水泵體結構,泵體由吸液室、儲液室、蝸殼、回流孔、氣液分離室等部份組成,結構見圖。泵啟動后,在離心力的作用下,吸水室中的剩余液與進液管路中的空氣被葉輪攪拌成氣水混合物,混合物經蝸殼進入氣液分離室,隨著速度減慢,導致氣水分離,空氣由泵出液口排出,液經回水孔返回泵內,經過多次循環,進液管道中的空氣被排凈,使泵內形成一定的真空度,達到自吸的作用。
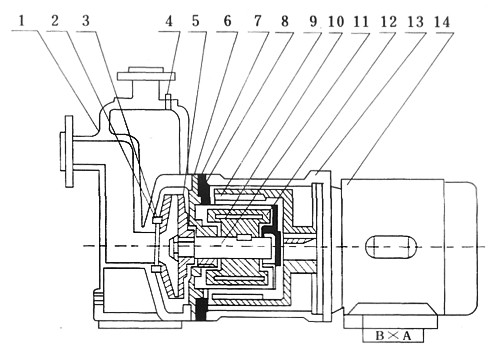
ZCQ不銹鋼磁力自吸泵結構圖:
|

|
1
|
泵體
|
|
2
|
靜環
|
|
3
|
動環
|
|
4
|
加水螺栓
|
|
5
|
葉輪
|
|
6
|
密封圈
|
|
7
|
隔板
|
|
8
|
隔離板
|
|
9
|
外磁鋼總成
|
|
10
|
內磁鋼總成
|
|
11
|
泵軸
|
|
12
|
軸套
|
|
13
|
聯接架
|
|
14
|
電機
|
ZCQ不銹鋼磁力自吸泵產品用途:
ZCQ型不銹鋼磁力自吸泵可廣泛用于石油、化工、制藥、電鍍、印染、食品、科研等單位,抽送酸、堿、油類及稀有貴重液、毒液、揮發性液體,以及循環水設備配套,特別是易漏、易燃、易爆液體的抽送。
ZCQ不銹鋼磁力自吸泵性能參數:
|
型號
|
口徑(mm)
|
流量(m3/h)
|
揚程(m)
|
電機功率 (kW)
|
電壓
|
材質
|
|
進口
|
出口
|
(V)
|
|
ZCQ20-12-100
|
20
|
12
|
3
|
12
|
0.37
|
220/380
|
不銹鋼
|
|
ZCQ25-20-115
|
25
|
20
|
6.6
|
15
|
1.1
|
380
|
|
ZCQ32-25-115
|
32
|
25
|
6.6
|
15
|
1.1
|
380
|
|
ZCQ32-25-145
|
32
|
25
|
6.6
|
25
|
1.1
|
380
|
|
ZCQ40-32-132
|
40
|
32
|
10.8
|
20
|
2.2
|
380
|
|
ZCQ40-32-160
|
40
|
32
|
12
|
32
|
4
|
380
|
|
ZCQ50-40-145
|
50
|
40
|
14.4
|
25
|
4
|
380
|
|
ZCQ50-40-160
|
50
|
40
|
13.2
|
32
|
4
|
380
|
|
ZCQ50-40-200
|
50
|
40
|
7.8
|
50
|
5.5
|
380
|
|
ZCQ65-50-145
|
65
|
50
|
16.8
|
25
|
5.5
|
380
|
|
ZCQ65-50-160
|
65
|
50
|
27
|
32
|
7.5
|
380
|
|
ZCQ80-65-125
|
80
|
65
|
50
|
20
|
7.5
|
380
|
|
ZCQ80-65-160
|
80
|
65
|
50
|
32
|
15
|
380
|
|
ZCQ80-65-200
|
80
|
65
|
50
|
50
|
18.5
|
380
|
|
注:每個型號都可配防爆電機
|
ZCQ不銹鋼磁力自吸泵使用:
1、自吸泵使用前應進行檢查、電機風葉轉動要靈活、無卡住及異聲現象,各緊固件要牢固。
2、擰開自吸泵上方的加水螺栓,加入儲液水不少于泵體容積的三分之二,旋緊螺栓。
3、接上電源試轉一下,從電機端看,運轉是否與泵轉向標記一致。
4、自吸泵停止工作前,先關閉排出閥門,再關閉電源,最后關閉吸入管閥門。
ZCQ不銹鋼磁力自吸泵使用注意事項:
1.因自吸泵軸承的冷卻和潤滑是靠被輸送的介質,所以絕對禁止空運轉,同時避免在工作中途停電后再啟動時所造成時空載運轉。
2.被輸送介質中,若含有固體顆粒,泵入口要加過濾網:如含有鐵磁質微粒,需加磁性過濾器。
3.泵在使用中環境溫度應小于40℃,電機溫升不得超過75℃。
4.被輸送的介質及其溫度應在泵材允許的范圍內。金屬泵的使用溫度<100℃,被輸送的介質比重≤1.3;介質比重<1.3時,將影響技術性能。
5.對于輸送液為易沉淀結晶的介質,使用后應及時清洗,排凈泵內積液。
6.自吸泵運行500小時后,應拆檢軸承和端面動環的磨損情況,若軸承和軸套的間隙大于0.5~1mm,葉輪軸向竄動1.5~2mm時,應更換軸承和軸向動環。
ZCQ不銹鋼磁力自吸泵主要材料的耐腐蝕性能(供參考)附表:
|
介質名稱
|
濃度(%)
|
不銹鋼
|
濃度(%)
|
陶 瓷
|
|
25℃
|
50℃
|
25℃
|
80℃
|
|
硫 酸
|
〈5
|
√
|
×
|
|
v
|
v
|
|
硝 酸
|
70
|
v
|
√
|
|
v
|
v
|
|
鹽 酸
|
|
×
|
|
|
v
|
v
|
|
氫氟酸
|
|
×
|
|
0~100
|
×
|
|
|
醋 酸
|
〈20
|
√
|
√
|
|
v
|
v
|
|
氫氧化鈉
|
70
|
√
|
√
|
|
○
|
×
|
|
重鉻酸鉀
|
40~60
|
v
|
v
|
10~20
|
v
|
v
|
|
溴 水
|
|
〇
|
|
|
v
|
v
|
|
乙 醇
|
|
v
|
√
|
|
v
|
v
|
|
丙 酮
|
|
v
|
v
|
|
v
|
|
|
四氯乙烷
|
50
|
v
|
v
|
|
v
|
v
|
|
氟利昂22
|
|
v
|
|
|
v
|
v
|
|
漂白液
|
CL12%
|
×
|
|
|
v
|
v
|
|
電鍍液
|
|
|
|
|
v
|
v
|
|
照相液
|
|
v
|
|
|
v
|
v
|
|
符號說明:v-優良,√ -良好,o-可用,但腐蝕明顯,× -腐蝕嚴重,不適用。
|
相關關鍵詞:自吸泵,不銹鋼自吸泵,磁力自吸泵,不銹鋼磁力自吸泵

永嘉泉達泵閥制造有限公司,泵閥設備制造廠家,主流產品有管道泵,離心泵,自吸泵,排污泵等,歡迎您訪問永嘉泉達泵閥制造有限公司【www.scxshr.com】。
相關產品:
自吸式油泵CYZ-A型 W旋渦泵 (ZS)型系列玻璃鋼自吸泵 FZB氟塑料自吸泵 JMZ移動酒泵 ZWP不銹鋼自吸泵
WFZB無密封自控自吸泵 CYZ-A型自吸式油泵 磁力驅動自吸泵 ZX型自吸式清水泵 ZBF型塑料磁力自吸泵
ZCQ型不銹鋼磁力自吸泵 ZW無堵塞自吸泵 ZW型自吸泵機械密封